Craftsman Belt Sander Replacement Parts . Craftsman 8A 3X21 Belt Sander Sears This is a Genuine Manufacturer Sourced replacement part used on Craftsman Power Tools Order the Craftsman disc belt sander parts that you need and fix your power sander fast.
Official Craftsman power sander parts Sears PartsDirect from www.searspartsdirect.com
Model # 31511721 Official Craftsman 3" belt sander New Replacement BELT for Craftsman 3 inch Sander 31511701 315.11701 990077-001
Official Craftsman power sander parts Sears PartsDirect Moon Boot Icon Nylon Insulated Slip On Unisex Snow Boots 1-48 of 473 results for "Craftsman Belt Sander Parts" +9 Shop OEM Craftsman Sander parts that fit, straight from the manufacturer
Source: www.youtube.com Refresh two craftsman 3 inch belt sanders and install and adjust belts , We offer model diagrams, accessories, expert repair help, and fast shipping. Model # 31511721 Official Craftsman 3" belt sander
Source: www.ereplacementparts.com Craftsman 2 x 42" Belt 6" Disc Sander 351215132 , 1-48 of 473 results for "Craftsman Belt Sander Parts" +9 Here are the diagrams and repair parts for Official Craftsman 31511721 3" belt sander, as well as links to.
Source: parts.sears.com CRAFTSMAN CRAFTSMAN 3 INCH BELT SANDER Parts Model 315117130 Sears , Order the Craftsman disc belt sander parts that you need and fix your power sander fast. This is a Genuine Manufacturer Sourced replacement part used on Craftsman Power Tools
Source: www.walmart.com Craftsman Belt Sander Parts , Craftsman Belt And Disc Sander Replacement Parts For Model 11322580 Craftsman Belt or Drum Sander Pulleys; Craftsman Belt or Drum Sander Springs and Shock Absorbers; Popular Craftsman Belt or Drum Sander Models 137283300 Belt / Disc Sander 137215360 4 X 36" Belt / Disc Sander
Source: sears.com Craftsman 8A 3X21 Belt Sander Sears , Repair Guides for Craftsman 3" X 21" Belt Sander 900117220. 1-48 of 473 results for "Craftsman Belt Sander Parts" +9
Source: www.ereplacementparts.com Craftsman 572247600 DiscBelt Sander , 1-48 of 473 results for "Craftsman Belt Sander Parts" +9 When your Craftsman belt & disc sander isn't working as it should, find the replacement parts you need to fix the sander at Sears PartsDirect
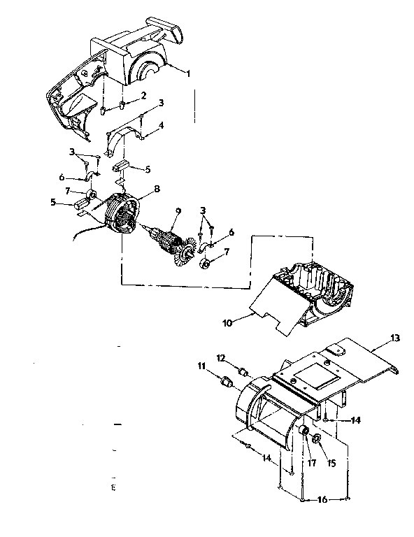
Source: partsschematics.com Craftsman Belt Sander 113.22521 Replacement Parts Diagram , Sears PartsDirect has Craftsman 4x36 belt sander parts Use our detailed parts drawings to quickly look up the Craftsman belt disc sander parts you need to get your sander working again
Source: parts.sears.com CRAFTSMAN CRAFTSMAN 3 INCH BELT SANDER Parts Model 17221belt3inch , We Sell Only Genuine Craftsman Parts Popular Parts for Craftsman 900117220 Here are the diagrams and repair parts for Official Craftsman 31511721 3" belt sander, as well as links to.
Source: www.ereplacementparts.com Craftsman 3 Inch Belt Sander 31511701 , We offer model diagrams, accessories, expert repair help, and fast shipping. Model # 31511721 Official Craftsman 3" belt sander
Source: www.ereplacementparts.com Craftsman 1 X 6" Belt / Disc Sander 35122671 , When your Craftsman belt & disc sander isn't working as it should, find the replacement parts you need to fix the sander at Sears PartsDirect Craftsman 31511721 power sander parts - manufacturer-approved parts for a proper fit every time! We also have installation guides, diagrams and manuals to help you along the way!
Source: westcoastbelts.com *New Replacement BELT * for Craftsman 6" Disc / Belt Sander Model 113 , Sears PartsDirect has Craftsman 4x36 belt sander parts Here are the diagrams and repair parts for Official Craftsman 31511721 3" belt sander, as well as links to.
Source: www.walmart.com Craftsman 31511720 3" Belt Sander OEM Replacement Belt , We also have CMEW231 parts and replacement parts for other power sanders We Sell Only Genuine Craftsman Parts Find Craftsman 11322580 Parts By Symptom
Source: www.hrpediatricdentistry.com 113.226432 SEARS CRAFTSMAN Replacement Belt for Belt/Disc Sander , We offer model diagrams, accessories, expert repair help, and fast shipping. Belt or Drum Sander Parts; Craftsman Parts; Related Craftsman Belt or Drum Sander Parts
Source: www.walmart.com Craftsman Belt Sander Parts , We Sell Only Genuine Craftsman Parts Popular Parts for Craftsman 900117220 We Sell Only Genuine Craftsman Parts Find Craftsman 11322580 Parts By Symptom
Source: parts.sears.com CRAFTSMAN CRAFTSMAN 3 INCH BELT SANDER Parts Model 31522420 Sears , New Replacement BELT for Craftsman 3 inch Sander 31511701 315.11701 990077-001 Craftsman 31511721 power sander parts - manufacturer-approved parts for a proper fit every time! We also have installation guides, diagrams and manuals to help you along the way!
Craftsman Belt / Disc Sander 35122632 . This is a Genuine Manufacturer Sourced replacement part used on Craftsman Power Tools Shop OEM Craftsman Sander parts that fit, straight from the manufacturer
301 Moved Permanently . Craftsman Belt or Drum Sander Pulleys; Craftsman Belt or Drum Sander Springs and Shock Absorbers; Popular Craftsman Belt or Drum Sander Models 137283300 Belt / Disc Sander 137215360 4 X 36" Belt / Disc Sander Here are the diagrams and repair parts for Official Craftsman 31511721 3" belt sander, as well as links to.